COIL - the Future for Electric Vehicles and Energy Storage -Freedom To Move
Designed for ReUSE - Democratize Energy
Designed for ReUSE - Democratize Energy
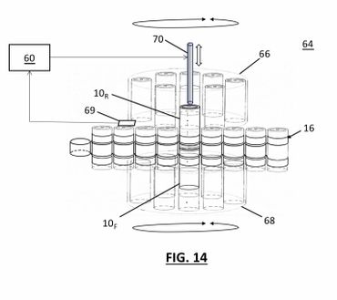
This is a quick mockup to demonstrate the type of belt system that could link 18650 or other cylindrical cells.
Re-energize your electric car just like filling up a tank of gas.
A scalable, future-proof, fault tolerant design for everyone.
We have a new, mechanical way of utilizing cylindrical battery cells that creates a shared energy market between electric vehicles and stationary power systems with safe reuse in off-grid applications.
This is just a quick video showing how easy it is to manipulate linked “batteries.” For illustration we are using expended 5.56 linked casings and show side by side with an 18650 cell. You can see how easy it can be to link batteries this way.








